
发布时间:2022年04月22日 08:12
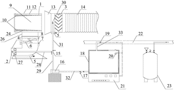
点击:一、检测不同型号喷嘴降尘效率的精准测定装置及测定方法
喷雾降尘技术是指将液柱离散成雾滴并覆盖尘源处,达到沉降粉尘的目的。但是由于现场作业环境的复杂性、多样性,不同作业区域产生粉尘的粒径及性质存在较大差异,喷嘴的选型及喷雾参数选取对于煤矿降尘方案的设计具有重要意义,现阶段国内外对于测定喷嘴降尘效率方法及设备极少,难以达到有效测定不同喷嘴雾化降尘效果的目的。不同粒径分布的粉尘在不同型号喷嘴下的降尘效率的研究尚未见诸报道。
本发明提供一种矿用检测不同型号喷嘴降尘效率的精准测定装置及测定方法。
专利优势:
本发明提供的一种矿用检测不同型号喷嘴降尘效率的精准测定装置及测定方法,在实验室环境下,可以比较不同型号喷嘴对不同粒度、性质粉尘的降尘效率,得到每个喷嘴生成雾滴捕获粉尘的最优粒径范围,可为煤矿不同产尘作业区的喷嘴选型及喷雾方案设计提供有效参考和技术支持,从而在不同煤矿工作面安装合适的喷嘴,达到降尘效率的最大化。

二、一种用于综采工作面的局部区域封闭式粉尘防治方法
煤炭开采过程中会产生大量粉尘,高浓度粉尘不仅会引发职业病,还会引起矿井粉尘爆炸事故,严重影响着矿井的安全高效开采。
目前,针对矿井综采工作面高浓度粉尘危害,采取的主要防治措施有煤层注水、通风排尘、喷雾降尘、湿式捕尘、个体防护、物理化学抑尘等,但综采面为开放生产空间,采煤机截割产尘和液压支架动作产尘很容易随着风流扩散至整个作业空间,上述防尘措施均只能在一定程度上降低综采工作面粉尘浓度,综采面高浓度粉尘污染问题仍很严重。
本发明提供一种用于综采工作面的局部区域封闭式粉尘防治方法,以提高综采工作面控除尘效率。
专利优势:
(1)本发明通过采煤机区域封闭式防尘装备及方法、液压支架区域封闭式防尘装备及方法,利用不同种类喷嘴形成气水双幕封闭空间或者单雾场封闭空间,将高浓度粉尘集中在封闭空间内集中处理,避免了粉尘向其它作业区域逸散或者将高浓度粉尘阻挡在封闭空间之外,避免了粉尘污染封闭空间内部作业环境;
(2)本发明利用喷雾降尘、封闭隔尘与抽尘净化相结合的方式,将采煤机截割、移架过程中降尘效率提高到95%以上,大幅度降低了煤矿综采工作面的粉尘浓度,既避免了发生煤尘爆炸事故,又大大改善了工人的作业环境。

三、一种综采工作面抑尘与除尘装置
矿井粉尘作为煤炭生产加工过程中的必然产物,由于自身的理化特性,使其成为煤矿的五大灾害之一。矿井粉尘的主要危害包含两个方面:一是煤尘的自燃性和爆炸性;二是职业病危害。而采煤工作面一直以来都是煤矿企业的第一产尘源,产尘量占整个矿井产尘量的85 %以上。采煤机截割产尘占据了绝大部分,而移架产尘依然不容忽视,其中,自移式液压支架在降柱和前移过程中的产尘量约占整个工作面产尘量的30%左右,产生的粉尘浓度高达1000〜2000mg/m 3,远远超过了国家规定的相关标准,至今未形成有效地防治措施。给煤矿企业的正常运转带来巨大威胁。
本发明的目的是,提供一种综采工作面抑尘与除尘装置。
专利优势:
(1)本发明的综采工作面抑尘与除尘装置,通过喷雾除尘、空气幕隔尘及吸尘净化装置吸尘相结合方法对综采工作面的粉尘进行封闭沉降,整个控除尘措施安全有效,煤矿井下综采工作面生产过程中的高浓度粉尘可以得到较好防治与控制,提高了降尘效率。
(2)本发明的综采工作面抑尘与除尘装置,其相对于现有技术,具有结构简单、设备投资省,操作灵活简便,防尘与除尘效果好等有益效果,具有良好的市场应用前景和推广价值。

四、一种矿用气雾联动的环形射流除尘系统
随着矿井机械化生产水平的快速发展,矿井生产过程中的粉尘危害日益突出,尘肺病、粉尘爆炸等灾害危害程度不断升级,严重威胁了矿井的安全生产和矿工的身心健康。
目前,广泛采用的除尘装置主要包括机械除尘装置、过滤式除尘装置、湿式除尘装置和电除尘装置四类。但上述除尘设备均具备同样的不足,主要表现在:安全性较低,高浓度含尘风流未经降尘处理进入除尘装置内部,当粉尘浓度达到一定程度后极易引起粉尘爆炸;处理风量小,除尘装置无法实现对作业区域粉尘的高效率抽吸作业;环保性不足,由于除尘装置处理风量有限,为提高抽尘效率,务必选用大功率机械设备,此时不仅耗电量大且设备运行噪音强,影响井下劳动工人间信息传递的准确性,易发生责任事故。为了提高矿井产尘场所的降尘效率,本发明提供一种矿用气雾联动的环形射流除尘系统,使含尘气体流动过程中受到高压喷雾及惯性捕尘双重降尘作用,提高降尘效率。
专利优势:
(1)本发明提供的一种矿用气雾联动的环形射流除尘系统,将含尘风流通过环形的射流出风间隙高速射出,风流高速流动过程中在周围形成负压区域,使外部含尘气体被迫压入增风机构随同原有的高速射流一同流动,此过程中实现了风流低速到高速、小流量到大流量的转变。
(2)本发明通过含尘气体流动过程中受到高压喷雾及惯性捕尘双重降尘作用,有效降低粉尘浓度;尤其是由于初始风量、风速均相对较低,因此除尘装置内部旋流增速装置可选用相对低功率设备,且含尘风流进入除尘装置前均已经过喷雾降尘及惯性捕尘双重净化,避免了机械设备粉尘爆炸隐患,与传统大功率除尘装置相比,本发明具有处理风量大、安全系数高、运行能耗低、环保性能好、降尘效率高等有益技术效果。

联系方式:蒋学凯17660458662
电子邮箱:jszy@sdust.edu.cn