
发布时间:2022年03月17日 14:59
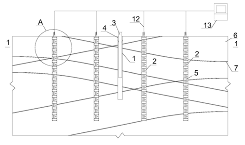
点击:一、一种注浆扩散三维监测系统及监测方法
随着我国基础设施建设的快速发展,公路铁路隧道、煤矿巷道、地铁、水电硐室越来越多的修建在大埋深、软岩、断层构造等恶劣地质环境中,导致岩体稳定控制难度剧增,工程灾害频发。
注浆加固是提高岩体稳定性,保证工程安全的重要技术措施,注浆堵水是目前处理岩土工程中突涌水问题的主要技术。但是由于岩土体中存在大量无法直接观察的贯通裂隙,注浆过程中浆液如何扩散、扩散到什么范围等信息无法获取,导致注浆策略的制定非常被动。注浆过程中浆液扩散模式、扩散参数的监测尚没有相应的设备和技术能够有效、定量、实时的监测到浆液的三维扩散信息。本发明公开了一种注浆扩散三维监测系统及监测方法,能够在注浆过程中准确、定量、实时获取浆液的三维扩散信息。
专利优势:
(1)本发明采用隔段式传感器,可以可将浆液感应元件分隔在一个个相互独立的感应单元内,以此保证每个感应单元中的感应元件,能且只能感应到从与自身所在感应单元联通的裂隙传导过来的浆液,从而实现浆液扩散信息孔深方向的定位。
(2)本发明在注浆孔周围布置多个隔段式传感器,实现浆液感应元件的三维空间布控。基于此,可在注浆过程中实时监测浆液在三维空间的扩散情况,为注浆机理研究、技术改进、方案优化等提供重要参考。
(3)本发明专利隔段式传感器可大可小,可长可短,可根据现场需要任意调节其尺寸,具有广泛的适用性。
所属领域:空间注浆工程
扩展领域:土木工程;地下空间开发等
合作方式:技术转让、技术许可

二、软弱破碎岩体注浆加固效能三维空间数据采集方法
矿山、隧道等地下工程建设中,经常发生围岩变形大、涌水量大等问题,甚至会发生突水突泥灾害,造成巨大的人员财产损失。注浆作为一种加固软弱围岩、治理水害的一种有效手段在地下工程灾害治理中得到了越来越广泛的应用。目前注浆试验难以兼顾注浆效果检验与浆脉空间形态判识,造成注浆模型试验有效数据的大量丢失。
本发明提供一种软弱破碎岩体注浆加固效能三维空间数据采集方法,该方法完善了注浆试验数据提取与分析方法,提高了注浆试验质量与科学性。
专利优势:
(1)本发明提出了软弱破碎岩体加固效能检验与加固体力学、水力学特征等三维空间信息的获取方法,完善了注浆试验数据提取与分析方法,提高了注浆试验质量与科学性。实现了注浆加固体空间形态精确性分析、浆液扩散路径判识及加固后岩体力学与水力学性质改善程度定量评价,为注浆加固理论研究及数值分析提供技术支撑。
(2)本发明充分考虑了模型试验中加固体物理指标空间分布非均匀性规律,利用分区段精细开挖方法获取不同部位、不同区块加固体的测试样品,并量测、采集浆脉展布形态,为注浆模型试验浆液扩散规律、加固体物理指标改善程度分布与变化规律研究提供第一手的试验手段和数据。
(3)本发明将注浆加固模式划分为压密型、渗透型、劈裂型等单型及压密-劈裂型、渗透-劈裂型等复合型注浆加固模式。首次就注浆模型试验中注浆效果检验与加固体三维空间数据体的确定提供了定量研究方法,克服了注浆试验中信息过量遗失,不能全面挖掘的难题。
(4)本发明中三维空间数据采集方法简单易行,操作简单,为进一步基于注浆模型试验开展注浆扩散与加固理论研究奠定基础。
所属领域:空间注浆工程
扩展领域:土木工程;地下空间开发等
合作方式:技术转让、技术许可

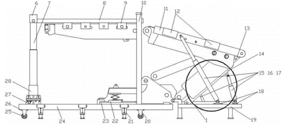
三、一种液压支架安装机构及其应用
液压支架是实现采煤综合机械化和自动化不可缺少的主要设备之一,液压支架作为煤层开采围岩支护的主要设备,通过对采场顶板的支护,可以防止顶板冒落,维持安全作业空间。近年来,随着采煤工作面高效综采技术的快速发展以及液压支架采高的增加,液压支架的安装过程也愈加复杂,相应地现有安装液压支架的装置也大都体形较大、结构复杂,安装过程用时较长,复杂的安装装置及低效的安装过程严重影响采煤进程。
虽然目前也存在着一些液压支架组装机构,但是这些机构大多采用人工安装,比较费时费力。通过观察液压支架的现场安装过程,发现其安装过程确实存在一些问题,这些问题严重制约着液压支架的整体组装进程。本发明提供了一种液压支架安装机构。
专利优势:
(1)本发明液压支架安装机构设计巧妙、结构独特,可实现液压支架的智能安装,能够满足大多数液压支架的安装,整个安装过程操作简便,无需人力,大大提高了安装效率,同时整个安装过程稳定性和安全性高。
(2)本发明安装机构可普遍适用于支架宽度一定范围内各种型号(即不同高度)液压支架的安装,具有广泛的推广性,从而可实现液压支架安全、高效的安装,其作用明显、效果显著,具有良好的经济效益和市场价值。
所属领域:支护辅助设备
扩展领域:土木工程;地下空间开发等
合作方式:技术转让、技术许可

四、拉压耦合型高强大变形锚杆及其使用方法
在矿山、水利水电、边坡和隧道等工程支护过程中,锚杆是应用很多的一种支护装备。随着开采深度不断增大以及大规模地下工程的建设,面临的地质条件越来越复杂,围岩经常表现出高应力、大变形的特点。这种情况要求锚杆既有较高的锚固力,又具有良好的变形性能。锚杆根据灌浆体所处的应力状态,可分为拉力型、压力型锚杆。但拉力型锚杆杆体-浆体-孔壁之间的剪应力沿轴向分布十分不均匀,引起锚固体渐进式破坏。压力型锚杆内锚固段的承载力受到锚固剂本身抗压强度以及锚固剂与孔壁间抗剪强度的限制,难以达到较高的承载力。
本发明将拉力型和压力型锚杆的锚固单元结合到一起,以提高锚杆锚固力,并且使其具有大变形性质,提供一种拉压耦合型高强大变形锚杆及其使用方法。
专利优势:
(1)本发明将拉力型锚杆和压力型锚杆耦合在一起,共同分担锚杆受力,提高了锚杆的极限锚固力,实现了锚杆“高强”的目的。
(2)本发明可以通过张拉施加一定量的预应力,这样锚杆对围岩产生压力对与抵抗岩体剪切变形具有积极作用。
(3)本发明明显优化了锚杆在现场应用时的受力状态,结构简单,可以在不影响施工效率,成本增加不多的情况下,显著提高锚杆的可靠性及支护效果。
所属领域:支护设备
扩展领域:土木工程;地下空间开发等
合作方式:技术转让、技术许可

wedvictor伟德,伟德官网联系方式: 蒋学凯17660458662
电子邮箱:jszy@sdust.edu.cn